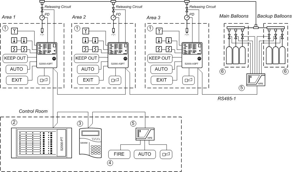
Блок приемно-контрольный и управления автоматическими средствами пожаротушения С2000-АСПТ
- Банковские карты
- Наличными при получении
- Банковский перевод для юр.лиц
- QR-код
Контроль состояния: трех неадресных шлейфов пожарной сигнализации цепи датчиков состояния дверей цепи устройства дистанционного пуска цепи контроля выхода огнетушащего вещества (ОТВ) цепи исправности оборудования установки пожаротушения Контроль исправности цепей запуска и управления оповещателями на обрыв и короткое замыкание Настраиваемая временная задержка перед запуском средств пожаротушения, по отдельности для каждого режима: для автоматического запуска для дистанционного (ручного) запуска Передача служебных и тревожных сообщений на пульт "С2000М" (пульт "С2000" не поддерживает "С2000-АСПТ") Дистанционный запуск и останов средств пожаротушения по команде от "С2000-ПТ" или "С2000М" Ручной запуск средств пожаротушения от устройств дистанционного пуска Ручной (с панели прибора) или дистанционный (командой от пульта "С2000М" или "С2000-ПТ") сброс пожарной тревоги и режима запуска средств пожаротушения Автоматический запуск средств пожаротушения при срабатывании двух пожарных извещателей в одном либо в двух шлейфах сигнализации Включение звукового и светового пожарного оповещения (сирена, световые табло) Программируемый релейный выход для управления технологическим оборудованием по любой из внутренних программ управления или от пульта «С2000М» (задвижки системы вентиляции в помещении и др.) Блокировка автоматического пуска при открытии дверей в защищаемое помещение Дистанционное включение (отключение) режима автоматического запуска помощи блока "С2000-ПТ", пульта "С2000М" Расширение количества пусковых цепей за счёт подключения до 16 контрольно-пусковых блоков «С2000-КПБ» к внутреннему интерфейсу RS-485-2 Ограничение доступа к органам ручного управления на передней панели прибора (IV уровня доступа) Механический замок на верхней крышке прибора Контроль вскрытия корпуса прибора Резервное электропитание от встроенных аккумуляторных батарей Контроль сетевого и резервного электропитания, отключение резервного питания при разряде аккумулятора Возможность тестирования и развитая диагностика работоспособности прибора Возможность индивидуального отключения входов или выходов прибора Встроенный звуковой сигнализатор
| Производитель-1 | |
| Производитель (c) | BOLID (БОЛИД) |
| Приборы управления пожаротушением | |
Если вы решили купить Блок приемно-контрольный и управления автоматическими средствами пожаротушения С2000-АСПТ то вы можете сделать заказ в нашем интернет магазине по выгодной для вас цене. Так же вы можете ознакомиться с характеристиками, сделать расчет и скачать инструкцию на оборудование.
Если вы нашли этот же товар ДЕШЕВЛЕ или хотите купить его для перепродажи то вы можете написать нам или позвонить и мы всегда предложим вам самую выгодную цену.
Заказать Блок приемно-контрольный и управления автоматическими средствами пожаротушения С2000-АСПТ вы можете либо с доставкой по Москве или в любой город России (подходящей вам транспортной компанией или службой доставки). Так же вы можете оформить самовывоз из офиса компании Видеотехнология в г. Москва.
Представленная информация носит справочный характер и не является публичной офертой. Технические характеристики, комплект поставки или внешний вид изделия могут быть изменены производителем без предварительного уведомления.
Для постоянных клиентов и партнеров цена Блок приемно-контрольный и управления автоматическими средствами пожаротушения С2000-АСПТ корректируется в личном кабинете.
Блок «С2000-АСПТ» предназначен для централизованной (в составе системы «Орион») противопожарной защиты объектов промышленного и гражданского назначения по одной зоне порошкового, аэрозольного или газового пожаротушения. Контроль состояния: трех неадресных шлейфов пожарной сигнализации цепи датчиков состояния дверей цепи устройства дистанционного пуска цепи контроля выхода огнетушащего вещества (ОТВ) цепи исправности оборудования установки пожаротушения Контроль исправности цепей запуска и управления оповещателями на обрыв и короткое замыкание Настраиваемая временная задержка перед запуском средств пожаротушения, по отдельности для каждого режима: для автоматического запуска для дистанционного (ручного) запуска Передача служебных и тревожных сообщений на пульт "С2000М" (пульт "С2000" не поддерживает "С2000-АСПТ") Дистанционный запуск и останов средств пожаротушения по команде от "С2000-ПТ" или "С2000М" Ручной запуск средств пожаротушения от устройств дистанционного пуска Ручной (с панели прибора) или дистанционный (командой от пульта "С2000М" или "С2000-ПТ") сброс пожарной тревоги и режима запуска средств пожаротушения Автоматический запуск средств пожаротушения при срабатывании двух пожарных извещателей в одном либо в двух шлейфах сигнализации Включение звукового и светового пожарного оповещения (сирена, световые табло) Программируемый релейный выход для управления технологическим оборудованием по любой из внутренних программ управления или от пульта «С2000М» (задвижки системы вентиляции в помещении и др.) Блокировка автоматического пуска при открытии дверей в защищаемое помещение Дистанционное включение (отключение) режима автоматического запуска помощи блока "С2000-ПТ", пульта "С2000М" Расширение количества пусковых цепей за счёт подключения до 16 контрольно-пусковых блоков «С2000-КПБ» к внутреннему интерфейсу RS-485-2 Ограничение доступа к органам ручного управления на передней панели прибора (IV уровня доступа) Механический замок на верхней крышке прибора Контр
FOX FX-PS/3A уличный влагозащитный блок питания с гермовводами. Входное напряжение 90-264V Выходное напряжение - 12V Номинальный ток - 3A Рабочая температура -30 +60С Вес 0,29кг. Комплектация: Блок питания, паспорт.
Модуль беспроводной HD-камеры для визуальной проверки срабатывания извещателя. Устанавливается на проводные модели VXI-ST, VXI-AM, VXI-DAM, подключение через Wi-Fi соединение. Доступ к просмотру камеры в реальном времени и/или 30-секундному видео (2 секунды до тревоги и 28 секунд после тревоги) через приложение OPTEX Vision. Запись на карту MicroSD (32Гб макс.). Угол просмотра: гор. 180°, вер. 100°. Разрешение камеры 1080Р, встроенная ИК подсветка. Рабочая температура -20°С/+50°С, IP55.
Извещатель охранный объемный оптико-электронный адресный с защитой от животных до 20 кг. Предназначен для работы, как в закрытых помещениях, так и на открытых площадках на периметре объекта. Применяется совместно с контроллером "С2000-КДЛ" или "С2000-КДЛ-2И". Надежное обнаружение проникновения в охраняемую зону обеспечивается тремя пироприемниками Отсутствие ложных срабатываний при перемещении животных массой до 20 кг Отсутствие реакции на перепады высокого уровня фоновой освещенности Защищенность от электромагнитных полей по третьей степени жесткости Защищенность от воздействия импульсов напряжения по линии связи Контроль вскрытия корпуса Возможность управления режимом индикации Измерение значения напряжения в ДПЛС в месте установки Адрес извещателя запоминается в энергонезависимой памяти До 127 извещателей к "С2000-КДЛ" и "С2000-КДЛ-2И"
Широкополосный подвесной громкоговоритель для систем Public Address
То же, что и FTN-R, но с защитой от маскирования











