Приемно-контрольные приборы сигнализации
Устройство содержит два реле с переключающими контактами и схему управления, позволяющую включать реле сигналом уровня логическая «1» (+ 5В КМОП). Используется совместно с контроллером доступа «С2000-2», работающим в режиме «Шлагбаум», для управления светофором, а также коммутации исполнительных устройств системах охранно-пожарной сигнализации и контроля доступа. Коммутация значительных токов и напряжений с помощью управляющих сигналов с логическим уровнем + 5В КМОП
Предназначен для совместной работы с АРМ «Орион Про» и регистрации отпечатков пальцев с последующим их сохранением в базе данных и контроллерах доступа С2000-BIOAccess-SF10T/SF6P/SB101TC/F22/MA300. Подключается к ПК по интерфейсу USB 2.0 Питание по интерфейсу USB Настольное исполнение
Предназначен для управления потоками людей на проходных и в помещениях Встроенный контроллер доступа «С2000-2» Турникеты серии «С2000-УТ-11x» оснащены встроенными считывателями карт стандарта Em-Marin, а «С2000-УТ-12x» – стандарта Mifare Встроенный преобразователь интерфейсов «С2000-Ethernet» (в моделях «С2000-УТ-1x3» и «С2000-УТ-1x4) Встроенный источник питания «МИП-24-УТ» (в моделях «С2000-УТ-1x2» и «С2000-УТ-1x4») с возможностью установки двух АКБ 12 В 7 Ач В комплект поставки входит проводной пульт управления Функция «Антипаника» - автоматическое опускание планки по дискретному сигналу Модификации и их отличия: Модель Формат идентификаторов Питание Интерфейс Комплектация «С2000-УТ-111» Em-marin 24 В RS-485 контроллер «С2000-2»2 считывателя «С2000-УТ-112» 220 В: встроенный интеллектуальный источник питания с интерфейсом RS-485, резервное питание – 2 АКБ 12 В 7 Ач RS-485 контроллер «С2000-2»2 считывателяисточник питания «С2000-УТ-113» 24 В Ethernet контроллер «С2000-2»2 считывателя«С2000-Ethernet» «С2000-УТ-114» 220 В: встроенный интеллектуальный источник питания с интерфейсом RS-485, резервное питание – 2 АКБ 12 В 7 Ач Ethernet контроллер «С2000-2»2 считывателя«С2000-Ethernet»источник питания «С2000-УТ-121» Mifare 24 В RS-485 контроллер «С2000-2»2 считывателя «С2000-УТ-122» 220 В: встроенный интеллектуальный источник питания с интерфейсом RS-485, резервное питание – 2 АКБ 12 В 7 Ач RS-485 контроллер «С2000-2»2 считывателяисточник питания «С2000-УТ-123» 24 В Ethernet контроллер «С2000-2»2 считывателя«С2000-Ethernet» «С2000-УТ-124» 220 В: встроенный интеллектуальный источник питания с интерфейсом RS-485, резервное питание – 2 АКБ 12 В 7 Ач Ethernet контроллер «С2000-2»2 считывателя«С2000-Ethernet»источник питания
Считыватели предназначены для считывания кода с идентификационных карточек и передачи его на приборы приёмно-контрольные или контроллеры СКУД. В ИСО «Орион» используются для обеспечения процедур управления шлейфами и разделами охранно-пожарной сигнализации и идентификации пользователей в точках доступа СКУД. В считывателях Proxy-6EHM-B, Proxy-6EHM-G, Proxy-6EHM-W реализован функционал работы с защищёнными секторами карт MIFARE (защищённый режим), позволяющий обеспечить защиту от копирования идентификационных карточек. Совместим с приборами, работающими в формате: Dallas Touch Memory, Wiegand-26, Wiegand-44 В ИСО «Орион» работает с приборами: Сигнал-20П, С2000-БКИ, Сигнал-10, С2000-2, С2000-4, С2000-КДЛ, С2000-КДЛ-2И, С2000- КДЛ-Modbus, С2000-ПТ, С2000-БИ Управление шлейфами и доступом по одной карте при работе с прибором С2000-2, С2000-4 с использованием встроенной сенсорной кнопки Работают с карточками и брелоками стандарта: Proxy-6EHU-B (Proxy-6EHU-G, Proxy-6EHU-W) - HID ProxCard II, Em-marine Proxy-6EHM-B (Proxy-6EHM-G, Proxy-6EHM-W) - HID ProxCard II, Em-marine, MIFARE Предусмотрена кнопка электронная сенсорная управляющая выходом типа «ОК» Для Proxy-6EHM-B, Proxy-6EHM-G, Proxy-6EHM-W: Три варианта защищённого режима работы Настройка с помощью мастер-карты (для подготовки мастер-карт и пользовательских карт используется USB-считыватель Proxy-6-USB-B (Proxy-6-USB-G, Proxy-6-USB-W) и бесплатное ПО «UProgProxy-6-USB Security»)
Proxy-6-USB-B, Proxy-6-USB-G, Proxy-6-USB-W предназначены для считывания кода с идентификационных карточек и передачи его на персональный компьютер через USB-порт, а также для программирования мастер-карт и пользовательских карт, предназначенных для использования совместно со считывателями бесконтактными Proxy-6EHM-B, Proxy-6EHM-G и Proxy-6EHM-W в защищенных режимах работы. Настольное исполнение Питание от USB-порта ПК Работает по интерфейсу USB клавиатуры и как виртуальный COM-порт Работает с тремя типами идентификаторов: идентификационные карты HID ProxCard II идентификационные карты и брелоки стандарта EM Marin идентификационные карты и брелоки стандарта MIFARE ® Индикация режимов работы светодиодными индикаторами и звуковым сигнализатором Для программирования карт MIFARE предоставляется бесплатное ПО «UProgProxy-6-USB Security»
Блок речевого оповещения "Рупор-300" предназначен для воспроизведения записанных в блок или трансляции внешних речевых сообщений о действиях, направленных на обеспечение безопасности и оповещения при возникновении пожара и других чрезвычайных ситуаций. Блок может работать только в составе ИСО "Орион". Блок в комплекте с ПКУ «С2000М исп.02» или прибором приёмно-контрольным и управления «Сириус» («Сириус»), может быть использован для построения систем оповещения и управления эвакуацией (СОУЭ) третьего, а при использовании совместно с комплексом «Рупор Диспетчер исп.02» – четвертого и пятого типов по классификации СП 3.13130.2009 Включение блока в режим передачи сигналов оповещения осуществляется по команде от сетевого контроллера ИСО «Орион» или от Микрофонной консоли-20 Блок совместно с приборами ИСО «Орион» и пультом контроля и управления (ПКУ) «С2000М» может выполнять функции блочно-модульного прибора управления речевым оповещением по ГОСТ 53325-2012, конструктивно образуя прибор управления пожарный блочно-модульного исполнения Воспроизводит речевые сообщения согласно их приоритетам (прерывание одного оповещения более приоритетным, поочерёдное воспроизведение сообщений с одинаковым приоритетом), обеспечивая возможность корректировки порядка эвакуации с учетом направления распространении пожара Поддерживает работу с несколькими микрофонными консолями с учётом их приоритетов и типов Обеспечивает программирование ряда параметров: пауз между речевыми сообщениями, преамбулы речевого оповещения (звукового сигнала для привлечения внимания), самих речевых сообщений, а также приоритета оповещения Для трансляции сигналов ГО и ЧС блок оборудован линейным входом, имеющим вход запуска внешнего оповещения с контролем целостности и выход подтверждения запуска оповещения Для трансляции звукового сигнала с внешних источников блок оборудован линейным входом, имеющим вход запуска внешнего оповещения ПО блока позволяет настраивать приоритет трансляции для каждого источника сигнала в
Адресный модуль контроля линий "Рупор-300-МК" предназначен для совместного использования с блоком речевого оповещения "Рупор-300" и служит для определения целостности линии оповещения, подключенных к блоку речевого оповещения. Модуль контроля линий оповещения обеспечивает цифровой канал связи с блоком речевого оповещения "Рупор-300" Благодаря применению модулей "Рупор-300-МК" линия оповещения, подключенная к "Рупор-300", может быть свободной топологии Модуль позволяет идентифицировать проблему в том участке линии оповещения, на конце которого он расположен
«Микрофонная консоль-20» предназначена для работы в СОУЭ, построенной на базе блоков «Рупор-300» в составе ИСО «Орион». Консоль обеспечивает передачу речевых команд диспетчера о действиях, направленных на обеспечение безопасности и оповещения при возникновении пожара и других чрезвычайных ситуаций в зоны речевого оповещения. Консоль совместно с приборами ИСО «Орион» и ППКУП «Сириус» или пультом контроля и управления охранно-пожарного «С2000М» и их исполнениями может выполнять функции блочно-модульного прибора управления речевым оповещением по ГОСТ 53325-2012, конструктивно образуя прибор управления пожарный блочно-модульного исполнения Консоль позволяет настроить до 20-ти зон трансляции Консоль обеспечивает включение и отключение передачи сигнала оповещения со встроенного в консоль микрофона Для трансляции сигналов ГО и ЧС консоль оборудована линейным входом, имеющим вход запуска внешнего оповещения с контролем целостности и выход подтверждения запуска оповещения Консоль позволяет осуществлять передачу команд ручного запуска оповещения на блоки речевого оповещения «Рупор-300» Трансляция звуковых сигналов и команд запуска оповещения на блоки «Рупор-300» осуществляется через локальную сеть Ethernet Перед трансляцией речевого сообщения с микрофона автоматически включается сигнал привлечения внимания, который можно оперативно включать и отключать При необходимости основной функционал консоли может быть защищен с помощью ключей Touch Memory Консоль может работать в двух функциональных режимах – «Пожарная консоль» или «Консоль оповещения» Питание консоли может осуществляться как от источников постоянного тока так и по технологии РоЕ Поддерживает резервированный интерфейс RS-485 Поддерживает резервированные порты Ethernet Имеет контроль вскрытия корпуса консоли, целостности основного и резервного источников питания
Блоки речевого оповещения «Рупор исп. 02» , «Рупор исп. 02 2RS485» предназначены для трансляции предварительно записанной речевой информации о действиях, направленных на обеспечение безопасности при возникновении пожара и других чрезвычайных ситуаций. Блок речевого оповещения «Рупор исп.02» предназначен для работы в составе ИСО «Орион». Блок «Рупор исп. 02 2RS485» отличается от блока «Рупор исп. 02» наличием второго резервного интерфейса RS-485. Блок применяется как компонент блочно-модульного прибора управления в системах оповещения и управления эвакуацией и в других системах оповещения совместно с ППКУП «Сириус» и пультом контроля «С2000М» и их исполнениями Блок поставляется с четырьмя предварительно записными сообщениями, которые проговариваются на русском и английском языке Преамбула и речевые сообщения могут быть изменены с помощью программы Uprog Блок имеет возможность трансляции сигналов оповещения ГО и ЧС Блок обеспечивает настройку параметров: паузы между речевыми сообщениями, преамбулы речевого оповещения (звукового сигнала для привлечения внимания), а также самих речевых сообщений Блок имеет возможность воспроизведения нескольких речевых сообщений согласно их приоритетам (прерывание одного сообщения другим, имеющим больший приоритет). Данная возможность может использоваться для внесения изменений в порядок эвакуации персонала (например, при распространении пожара на один из эвакуационных выходов) Блок рассчитан на работу совместно с акустическими системами серии ОПР-П0 и ОПР-С0 или подобными АС сопротивлением 8 или 4 Ом других производителей и блоками расширения «Рупор-БР» / «Рупор-БР 2RS485» Блок поддерживает 5 уровней ограничения выходной мощности Питание блока осуществляется от внешнего источника напряжением 24 В или 12 В
Блоки речевого оповещения «Рупор исп. 03», «Рупор исп. 03 2RS485» предназначены для трансляции предварительно записанной речевой информации о действиях, направленных на обеспечение безопасности при возникновении пожара и других чрезвычайных ситуаций. Блок речевого оповещения «Рупор исп.03» предназначен для работы в составе ИСО «Орион». Блок «Рупор исп. 03 2RS485» отличается от блока «Рупор исп. 03» наличием второго резервного интерфейса RS-485. Блок применяется как компонент блочно-модульного прибора управления в системах оповещения и управления эвакуацией и в других системах оповещения совместно с ППКУП «Сириус» и пультом контроля «С2000М» и их исполнениями Блок поставляется с четырьмя предварительно записными сообщениями, которые проговариваются на русском и английском языке Преамбула и речевые сообщения могут быть изменены с помощью программы Uprog Блок имеет возможность трансляции сигналов оповещения ГО и ЧС Блок обеспечивает настройку параметров: паузы между речевыми сообщениями, преамбулы речевого оповещения (звукового сигнала для привлечения внимания), а также самих речевых сообщений Блок имеет возможность воспроизведения нескольких речевых сообщений согласно их приоритетам (прерывание одного сообщения другим, имеющим больший приоритет). Данная возможность может использоваться для внесения изменений в порядок эвакуации персонала (например, при распространении пожара на один из эвакуационных выходов) Блок рассчитан на работу совместно с акустическими системами серии ОПР-П0 и ОПР-С0 или подобными АС сопротивлением 8 или 4 Ом других производителей и блоками расширения «Рупор-БР»/«Рупор-БР 2RS485» Блок поддерживает 5 уровней ограничения выходной мощности Блок имеет основной и резервный источники питания: Основной - сеть переменного тока 150…250 В, 50 Гц Резервный – аккумуляторная батарея 12В, 7Ач
Блоки расширения «Рупор-БР», «Рупор-БР 2RS485» предназначены для трансляции речевой информации о действиях, направленных на обеспечение безопасности при возникновении пожара и других чрезвычайных ситуаций, поступающей от блоков «Рупор исп.02» ,»Рупор исп.03» и «Рупор исп. 02 2RS485», «Рупор исп. 03 2RS485» соответственно. «Рупор–БР» совместим с блоками «Рупор исп.02», «Рупор исп.03». «Рупор-БР 2RS485 совместим с блоками Рупор исп. 02 2RS485», «Рупор исп. 03 2RS485». Блок расширения "Рупор-БР" предназначен для построения систем оповещения и управления эвакуацией (СОУЭ) Блок рассчитан на работу совместно с акустическими системами серии ОПР-П0 и ОПР-С0 или подобными АС сопротивлением 8 или 4 Ом других производителей Блок поддерживает 5 уровней ограничения выходной мощности Блок осуществляет контроль вскрытия корпуса прибора, контроль исправности канала оповещения и источника питания Блок обеспечивает индикацию состояния канала оповещения, состояния питания и др. Блок имеет основной и резервный источники питания: Основной источник питания – сеть переменного тока 150…250 В, 50 Гц Резервный источник питания – аккумуляторная батарея 12В, 7Ач
Комплект аналоговых расширителей "Рупор-АР" предназначен для удалённого подключения источника аналогового аудио сигнала к одному или нескольким модулям (блокам) речевого оповещения с возможностью удалённого управления запуском внешнего оповещения. Комплект обеспечивает: Удалённое подключение источника аналогового аудио сигнала (аппаратуры оповещения о ЧС, микрофоны (без микрофонных усилителей), линейный выход персонального компьютера и других источников сигнала с соответствующими выходными характеристиками) к модулю (блоку) речевого оповещения с возможностью удалённого управления запуском внешнего оповещения Разветвление аудио сигнала и сигнала управления между несколькими модулями (блоками) речевого оповещения (возможно подключить до 40 модулей оповещения) Передачу аудио сигнала и сигнала управления по одной витой паре проводов на удаление до 3500 метров от источника сигнала Состав комплекта: Модуль аналоговый выходной "Рупор-АР-МВ" Модули расширения аналоговых линий "Рупор-АР-МР" Электропитание комплекта осуществляется с помощью источника постоянного тока напряжением 12 В. В качестве источника питания рекомендуется применять изделия РИП-12 производства НВП "Болид".
Комплекс «Рупор-Диспетчер исп.02» является частью адресного блочно-модульного прибора пожарного управления (ППУ) по ГОСТ 53325-2012 п.7.2.6 и предназначен для обеспечения двунаправленных каналов связи зон пожарного оповещения с помещением пожарного поста. В состав блочно-модульного ППУ, помимо комплекса «Рупор-Диспетчер исп.02», должен входить прибор приемно-контрольный и управления пожарный «Сириус» или пульт контроля и управления (ПКУ) охранно-пожарный «С2000М», или их исполнения. Комплекс «Рупор-Диспетчер исп.02» в комплекте с ПКУ «С2000М» или прибором приёмно-контрольным и управления «Сириус», может быть использован для построения систем оповещения и управления эвакуацией (СОУЭ) четвертого и пятого типов по классификации СП.3.13130.2009. Комплекс обеспечивает: Расстояние до самой дальней абонентской вызывной панели 1200 м Повышенную надёжность за счёт дублированных линий связи Передача данных для всех абонентских трубок осуществляется по одной двухпроводной линии связи Систему речевого оповещения на выбранное количество зон Количество зон оповещения до 20 Контроль доступа Выбор режимов разговора с абонентом Вызов диспетчером абонента, по средствам воспроизведения мелодии вызова Воспроизведение мелодии ожидания для абонента при вызове диспетчера Визуальное отображение информации о состоянии линий связи и передачу этой информации в ИСО «Орион» Комплекс полностью соответствует всем требованиям актуальной редакции ГОСТ Р 53325-2012 и имеет сертификат соответствие требованиям технического регламента пожарной безопасности. Состав комплекса: При необходимости ПКУ «С2000М исп.02» или ППКУП «Сириус» Диспетчерский блок «Рупор-ДБ исп.02» Две диспетчерские трубки (идут в комплекте с «Рупор-ДБ исп.02») Коммутационный блок «Рупор-ДК исп.02» (до 5 шт.) Абонентская вызывная панель «Рупор-ДА исп.02» (до 20 шт.) Контактные ключи «Touch memory DS1990» (при необходимости приобретаются отдельно)
Оповещатель предназначен для передачи речевого оповещения или специальных сигналов в системах оповещения и управления эвакуацией (СОУЭ), а также передачи речевой информации в системах звуковой трансляции с высокоомным выходом (100 В). Мощность оповещателя 6 / 3 / 1,5 Вт. Оповещатель предназначен для использования совместно с блоками речевого оповещения "Рупор-200" или "Рупор-300" или аналогичными блоками речевого оповещения, имеющими высокоомный выход (100 В) В оповещателе отсутствуют дополнительные элементы, предназначенные для работы схемы контроля целостности трансляционной линии Оповещатель имеет современный дизайн Идеально подходит для трансляции музыки и голосовых сообщений Оповещатель имеет широкую диаграмму направленности и высокое звуковое давление Оповещатель имеет клеммную колодку с винтовым крепление проводов, что позволяет закреплять два проводника различного сечения без применения скруток Оповещатель оборудован защитой от короткого замыкания линии оповещения при попадании оповещателя в зону пожара
Оповещатель предназначен для передачи речевого оповещения или специальных сигналов в системах оповещения и управления эвакуацией (СОУЭ), а также передачи речевой информации в системах звуковой трансляции с высокоомным выходом (100 В). Мощность оповещателя 20 / 10 / 5 Вт. Оповещатель предназначен для использования совместно с блоками речевого оповещения "Рупор-200" или "Рупор-300" или аналогичными блоками речевого оповещения, имеющими высокоомный выход (100 В) В оповещателе отсутствуют дополнительные элементы, предназначенные для работы схемы контроля целостности трансляционной линии. Оповещатель имеет современный дизайн Идеально подходит для трансляции музыки и голосовых сообщений Оповещатель имеет широкую диаграмму направленности и высокое звуковое давление Оповещатель имеет клеммную колодку с винтовым крепление проводов, что позволяет закреплять два проводника различного сечения без применения скруток Оповещатель оборудован защитой от короткого замыкания линии оповещения при попадании оповещателя в зону пожара
Оповещатель предназначен для передачи речевого оповещения или специальных сигналов в системах оповещения и управления эвакуацией (СОУЭ), а также передачи речевой информации в системах звуковой трансляции с низкоомным выходом. Мощность оповещателя 3 Вт. Оповещатель предназначен для использования совместно с блоками речевого оповещения "Рупор исп.01", "Рупор исп.02", "Рупор исп.03", "Рупор вер.3.0" или аналогичными блоками речевого оповещения, имеющими низкокоомный выход В оповещателе отсутствуют дополнительные элементы, предназначенные для работы схемы контроля целостности трансляционной линии Оповещатель имеет компактный размер Идеально подходит для трансляции голосовых сообщений Оповещатель имеет широкую диаграмму направленности и высокое звуковое давление Оповещатель имеет клеммную колодку с винтовым крепление проводов, что позволяет закреплять два проводника различного сечения без применения скруток Оповещатель оборудован защитой от короткого замыкания линии оповещения при попадании оповещателя в зону пожара
Оповещатель предназначен для передачи речевого оповещения или специальных сигналов в системах оповещения и управления эвакуацией (СОУЭ), а также передачи речевой информации в системах звуковой трансляции с высокоомным выходом (100 В). Мощность оповещателя 10 / 5 Вт. Оповещатель предназначен для использования совместно с блоками речевого оповещения "Рупор-200" или "Рупор-300" или аналогичными блоками речевого оповещения, имеющими высокоомный выход (100 В) В оповещателе отсутствуют дополнительные элементы, предназначенные для работы схемы контроля целостности трансляционной линии Оповещатель имеет современный дизайн Идеально подходит для трансляции голосовых сообщений Оповещатель имеет широкую диаграмму направленности и высокое звуковое давление Оповещатель имеет клеммную колодку с винтовым крепление проводов, что позволяет закреплять два проводника различного сечения без применения скруток Оповещатель оборудован защитой от короткого замыкания линии оповещения при попадании оповещателя в зону пожара
Оповещатель предназначен для передачи речевого оповещения или специальных сигналов в системах оповещения и управления эвакуацией (СОУЭ), а также передачи речевой информации в системах звуковой трансляции с высокоомным выходом (100 В). Мощность оповещателя 3 Вт. Оповещатель предназначен для использования совместно с блоками речевого оповещения "Рупор-200" или "Рупор-300" или аналогичными блоками речевого оповещения, имеющими высокоомный выход (100 В) В оповещателе отсутствуют дополнительные элементы, предназначенные для работы схемы контроля целостности трансляционной линии Оповещатель имеет современный дизайн Идеально подходит для трансляции голосовых сообщений Оповещатель имеет широкую диаграмму направленности Оповещатель имеет клеммную колодку с винтовым крепление проводов, что позволяет закреплять два проводника различного сечения без применения скруток Оповещатель оборудован защитой от короткого замыкания линии оповещения при попадании оповещателя в зону пожара
Рупорный оповещатель предназначен для передачи речевого оповещения или специальных сигналов в системах оповещения и управления эвакуацией (СОУЭ), а также передачи речевой информации в системах звуковой трансляции с высокоомным выходом (100 В). Мощность оповещателя 50 / 25 Вт. Оповещатель предназначен для использования совместно с блоками речевого оповещения "Рупор-200" или "Рупор-300" или аналогичными блоками речевого оповещения, имеющими высокоомный выход (100 В) В оповещателе отсутствуют дополнительные элементы, предназначенные для работы схемы контроля целостности трансляционной линии Оповещатель предназначен для эксплуатации в условиях воздействия атмосферных осадков и пыли Идеально подходит для трансляции голосовых сообщений
Рупорный оповещатель предназначен для передачи речевого оповещения или специальных сигналов в системах оповещения и управления эвакуацией (СОУЭ), а также передачи речевой информации в системах звуковой трансляции с высокоомным выходом (100 В). Мощность оповещателя 30 / 15 Вт. Оповещатель предназначен для использования совместно с блоками речевого оповещения "Рупор-200" или "Рупор-300" или аналогичными блоками речевого оповещения, имеющими высокоомный выход (100 В) В оповещателе отсутствуют дополнительные элементы, предназначенные для работы схемы контроля целостности трансляционной линии Оповещатель предназначен для эксплуатации в условиях воздействия атмосферных осадков и пыли Идеально подходит для трансляции голосовых сообщений
Оповещатель предназначен для передачи речевого оповещения или специальных сигналов в системах оповещения и управления эвакуацией (СОУЭ), а также передачи речевой информации в системах звуковой трансляции с высокоомным выходом (100 В). Мощность оповещателя 10 / 5 Вт. Оповещатель предназначен для использования совместно с блоками речевого оповещения "Рупор-200" или "Рупор-300" или аналогичными блоками речевого оповещения, имеющими высокоомный выход (100 В) В оповещателе отсутствуют дополнительные элементы, предназначенные для работы схемы контроля целостности трансляционной линии Оповещатель предназначен для эксплуатации в условиях воздействия атмосферных осадков и пыли Идеально подходит для трансляции голосовых сообщений
Оповещатель предназначен для передачи речевого оповещения или специальных сигналов в системах оповещения и управления эвакуацией (СОУЭ), а также передачи речевой информации в системах звуковой трансляции с низкоомным выходом. Мощность оповещателя 6 Вт. Оповещатель предназначен для использования совместно с блоками речевого оповещения "Рупор исп.01", "Рупор исп.02", "Рупор исп.03" , "Рупор вер.3.0" или аналогичными блоками речевого оповещения, имеющими низкокоомный выход В оповещателе отсутствуют дополнительные элементы, предназначенные для работы схемы контроля целостности трансляционной линии Оповещатель имеет современный дизайн Идеально подходит для трансляции музыки и голосовых сообщений Оповещатель имеет широкую диаграмму направленности и высокое звуковое давление Оповещатель имеет клеммную колодку с винтовым крепление проводов, что позволяет закреплять два проводника различного сечения без применения скруток Оповещатель оборудован защитой от короткого замыкания линии оповещения при попадании оповещателя в зону пожара
Оповещатель предназначен для передачи речевого оповещения или специальных сигналов в системах оповещения и управления эвакуацией (СОУЭ), а также передачи речевой информации в системах звуковой трансляции с высокоомным выходом (100 В). Мощность оповещателя 3 Вт. Оповещатель предназначен для использования совместно с блоками речевого оповещения "Рупор-200" или "Рупор-300" или аналогичными блоками речевого оповещения, имеющими высокоомный выход (100 В) В оповещателе отсутствуют дополнительные элементы, предназначенные для работы схемы контроля целостности трансляционной линии Оповещатель имеет компактный размер Идеально подходит для трансляции голосовых сообщений Оповещатель имеет широкую диаграмму направленности и высокое звуковое давление Оповещатель имеет клеммную колодку с винтовым крепление проводов, что позволяет закреплять два проводника различного сечения без применения скруток Оповещатель оборудован защитой от короткого замыкания линии оповещения при попадании оповещателя в зону пожара
Оповещатель предназначен для передачи речевого оповещения или специальных сигналов в системах оповещения и управления эвакуацией (СОУЭ), а также передачи речевой информации в системах звуковой трансляции с низкоомным выходом. Мощность оповещателя 3 Вт. Оповещатель предназначен для использования совместно с блоками речевого оповещения "Рупор исп.01", "Рупор исп.02", "Рупор исп.03", "Рупор вер.3.0" или аналогичными блоками речевого оповещения, имеющими низкокоомный выход В оповещателе отсутствуют дополнительные элементы, предназначенные для работы схемы контроля целостности трансляционной линии Оповещатель имеет современный дизайн Идеально подходит для трансляции голосовых сообщений Оповещатель имеет широкую диаграмму направленности Оповещатель имеет клеммную колодку с винтовым крепление проводов, что позволяет закреплять два проводника различного сечения без применения скруток Оповещатель оборудован защитой от короткого замыкания линии оповещения при попадании оповещателя в зону пожара
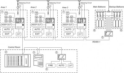
Блок «С2000-АСПТ» предназначен для централизованной (в составе системы «Орион») противопожарной защиты объектов промышленного и гражданского назначения по одной зоне порошкового, аэрозольного или газового пожаротушения. Контроль состояния: трех неадресных шлейфов пожарной сигнализации цепи датчиков состояния дверей цепи устройства дистанционного пуска цепи контроля выхода огнетушащего вещества (ОТВ) цепи исправности оборудования установки пожаротушения Контроль исправности цепей запуска и управления оповещателями на обрыв и короткое замыкание Настраиваемая временная задержка перед запуском средств пожаротушения, по отдельности для каждого режима: для автоматического запуска для дистанционного (ручного) запуска Передача служебных и тревожных сообщений на пульт "С2000М" (пульт "С2000" не поддерживает "С2000-АСПТ") Дистанционный запуск и останов средств пожаротушения по команде от "С2000-ПТ" или "С2000М" Ручной запуск средств пожаротушения от устройств дистанционного пуска Ручной (с панели прибора) или дистанционный (командой от пульта "С2000М" или "С2000-ПТ") сброс пожарной тревоги и режима запуска средств пожаротушения Автоматический запуск средств пожаротушения при срабатывании двух пожарных извещателей в одном либо в двух шлейфах сигнализации Включение звукового и светового пожарного оповещения (сирена, световые табло) Программируемый релейный выход для управления технологическим оборудованием по любой из внутренних программ управления или от пульта «С2000М» (задвижки системы вентиляции в помещении и др.) Блокировка автоматического пуска при открытии дверей в защищаемое помещение Дистанционное включение (отключение) режима автоматического запуска помощи блока "С2000-ПТ", пульта "С2000М" Расширение количества пусковых цепей за счёт подключения до 16 контрольно-пусковых блоков «С2000-КПБ» к внутреннему интерфейсу RS-485-2 Ограничение доступа к органам ручного управления на передней панели прибора (IV уровня доступа) Механический замок на верхней крышке прибора Контр
Блоки индикации системы пожаротушения «С2000-ПТ» и «С2000-ПТ 2RS485» предназначены для индикации состояния и дистанционного управления направлениями пожаротушения в составе автоматической установки газового, порошкового, аэрозольного пожаротушения или тушения тонкораспыленной водой. Блок предназначен для работы в составе ИСО «Орион», Блок «С2000-ПТ» отличается от блока «С2000-ПТ 2RS485» наличием второго резервного интерфейса RS-485 и возможностью управления 5 направлениями пожаротушения. «С2000-ПТ» обеспечивает работу 4 направлений пожаротушения. Блок применяется как компонент блочно-модульного прибора управления в системах пожаротушения и совместно с ППКУП «Сириус» и пультом контроля «С2000М» и их исполнениями Индикация и управления направлениями пожаротушения Встроенный считыватель Touch Memory для ограничения доступа к управлению системой пожаротушения
"Поток-3Н" предназначен для управления оборудованием насосной станции или станции спринклерного, дренчерного, пенного пожаротушения или пожарного водопровода. Работа блока в составе установки пожаротушения возможна только совместно с сетевым контроллером (пультом "С2000М" в.3.03 и выше) и блоком индикации системы пожаротушения "Поток-БКИ" в.2.00 и выше. Блок "Поток-3Н" позволяет подключать блоки "С2000-4" в качестве ведомых устройств к интерфейсу RS-485-2 для управления дополнительным технологическим оборудованием (при необходимости). Блок предназначен для автоматического: управления 4-мя исполнительными устройствами (агрегатами) контроля состояния датчиков давления (ДД), устройств дистанционного пуска (УДП), шкафов контрольно-пусковых (ШКП), концевых выключателей, а так же различных датчиков–реле с нормально–разомкнутыми (нормально–замкнутыми) внутренними контактами контроля целостности линий связи с датчиками, УДП, ШКП и концевыми выключателями контроля целостности цепей управления исполнительными устройствами управления включением (отключением) вентиляционных систем и иного инженерного оборудования приёма команд и выдачи тревожных извещений по интерфейсу RS-485 на сетевой контроллер (пульт контроля и управления С2000М) выдачи извещений «Пожар», «Неисправность» и «Пуск» на пульт пожарной части (ПЧ) Блок поддерживает одновременно работу до 4 исполнительных устройств (агрегатов) следующих типов: основной насос (ОН) резервный насос (РН) пожарная электрозадвижка (ЭЗ) резервная пожарная электрозадвижка (РЭЗ) дренчерная завеса (секция) (ДЗ) жокей-насос (ЖН) контроль аварийного уровня пожарных резервуаров (АУПР) автоматическое включение резерва (АВР) Блок обеспечивает возможности пуска: автоматический, от датчиков давления ручной, от УДП дистанционный, командами пульта "С2000М" или при помощи кнопок блока "Поток-БКИ" Блок имеет 10 базовых конфигураций, а также позволяет создавать пользовательские конфигурации Блок осуществляет передачу служебных и тревожных сообщений на
Предназначен для работы в составе оборудования насосной станции или станции спринклерного, дренчерного, пенного пожаротушения или пожарного водопровода. Работа блока возможна только совместно с сетевым контроллером (пультом "С2000М" в.3.03 и выше). Обеспечивает световую и звуковую индикацию состояния станции пожаротушения, выполненной на основе блока "Поток-3Н" и дистанционное управление этим блоком. Позволяет отображать состояние пожарных разделов, входов запуска пожаротушения, датчиков выхода на режим, датчиков управления жокей–насосом, датчиков аварийных уровней, концевых выключателей задвижек и т.д. на 16 индикаторах. Изменение режима управления блока "Поток-3Н": автоматика включена/автоматика отключена/блокировка пуска Пуск/отмена пуска пожаротушения Останов/возобновление/сброс задержки пуска пожаротушения Ограничение доступа к органам управления при помощи встроенного считывателя ключей Индикация "Работа" и "Доступ" (к органам управления) Отображение на 24-х двухцветных индикаторах состояния 4-х пожарных агрегатов ("Работа", "Агрегат включен", "Неисправность агрегата", "Авария питания", "Ручное управление", "Управление отключено" по каждому агрегату) Отображения на 14-и индикаторах состояния насосной станции Отображение на семисегментном индикаторе величины задержки пуска (0…999 сек.) Включение звукового сигнала при получении извещения о неисправности или пожаре с возможностью его сброса оператором. Извещения о пожаре имеют приоритет Наличие 2-х проводного интерфейса RS-485 позволяет: производить изменение сетевого адреса и запись конфигурационных параметров (присвоение номеров разделов, состояния которых будет отображать блок индикации) использовать его в комплексных интегрированных системах пожарной сигнализации


































