MikroTik RB4011iGS+5HacQ2HnD-IN
- Банковские карты
- Наличными при получении
- Банковский перевод для юр.лиц
- QR-код
ЦП с поддержкой аппаратного ускорения IPsec и 1 ГБ оперативной памяти позволит устройству легко справиться с любой задачей, сконфигурированной пользователем для выполнения операционной системой RouterOS.
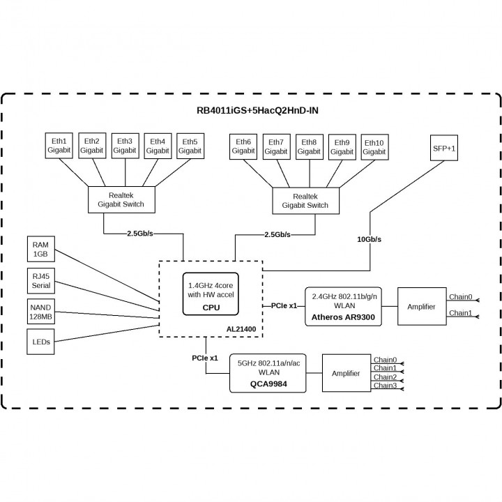
Особенности Работа в двух диапазонах: 2.4 и 5 ГГц 10 гигабитных портов Ethernet и порт SFP+ Мощный четырёхядерный процессор (1.4 ГГц) Аппаратное ускорение IPsec Максимальная скорость передачи данных: 1733 Мбит/с Беспроводной интерфейс 2.4 ГГц (MIMO 2x2) для более ранних моделей Поддержка MIMO 4x4 для 5 ГГц Отличное 360-градусное покрытие беспроводной связью за счёт больших внешних антенн Раздача PoE-питания на десятом порту Настольное размещение В комплектацию входит: Маршрутизатор Блок питания 24 В, 2.5 A Кабель питания IEC Отдельно можно приобрести крепление-корпус RB4011 wall mount kit Характеристики MikroTik RB4011iGS+5HacQ2HnD-IN Процессор Четырехядерный процессор AL21400 с частотой 1.4 ГГц.
Архитектура ARM (32 бит) ОЗУ 1 ГБ RAM ПЗУ 512 МБ NAND Сетевой интерфейс 10х 10/100/1000 Ethernet и 1 SFP+ (10 Гбит/с) Чип коммутации RTL8367SB Радиомодуль 2.4 ГГц (2412 - 2484 МГц) 5 ГГц (5150 - 5875 МГц) Поддерживаемые протоколы 802.11 a/b/g/n/ac Цепи MIMO 2x2 и 4x4 Ширина диаграммы направленности антенны 360° Коэффициент усиления антенны 3 дБи (антенны: 2x 2.4 + 5 ГГц; 2x 5 ГГц) Интерфейс подключения 1x miniPCI-e (для радиокарты 2.4 ГГц) Консольный порт 1х RJ45 Питание Passive PoE, 18 - 57 В (порт 1) 1x Jack, 12 - 57 В DC Раздача питания: Passive PoE, до 57 В (порт 10) Максимальное энергопотребление 26 Вт, 44 Вт при раздаче PoE-питания Дополнительно Датчик напряжения, датчик температуры платы Рабочая температура от -40ºС до +45ºС Размеры 228 x 120 x 30 мм Версия RouterOS 5-й уровень Страна производитель Латвия Срок гарантии 12 месяцев Характеристики радиочасти СКОРОСТЬ (2.4 ГГц) Мощность передатчика Чувствительность приёмника СКОРОСТЬ (5 ГГц) Мощность передатчика Чувствительность приёмника (дБм) (дБм) 1 Мбит/с 28 -100 6 Мбит/с 33 -96 6 Мбит/с 29 -96 54 Мбит/с 29 -81 11 Мбит/с 28 -94 MCS0 33 -96 54 Мбит/с 25 -80 MCS7 28 -77 MCS0 26 -96 MCS9 26 -72 MCS7 24 -79 Результаты замера производительности процессора RB4011iGS+5HacQ2HnD-IN AL21400 (1.4 ГГц) максимальная пропускная способность Режим Конфигурация 1518 байт 512 байт 64 байт Кпак/с Мбит/с Кпак/с Мбит/с Кпак/с Мбит/с Мост отсутствует (fast path) 806.4 9792.9 2312.9 9473.6 5509.7 2821.0 Мост 25 правил фильтрации моста 806.4 9792.9 1037.4 4249.2 1153.2 590.4 Маршрутизация отсутствует (fast path) 806.4 9792.9 1923.3 7877.8 5092.3 2607.3 Маршрутизация 25 простых очередей 806.4 9792.9 1046.6 4286.9 960.3 491.7 Маршрутизация 25 правил фильтрации IP 593.7 7209.9 625.2 2560.8 564.6 289.1 Результаты замера производительности протоколов IPsec RB4011iGS+5HacQ2HnD-IN RB4011iGS+5HacQ2HnD-IN пропускная способность IPsec Режим Конфигурация 1400 байт 512 байт 64 байт Кпак/с Мбит/с Кпак/с Мбит/с Кпак/с Мбит/с Один туннель AES-128-CBC + SHA1 140.8 1577 141.2 578.4 139.9 71.6 256 туннелей AES-128-CBC + SHA1 192.7 2158.2 200.5 821.2 203.4 104.1 256 туннелей AES-128-CBC + SHA256 192.4 2154.9 200.5 821.2 203.4 104.1 256 туннелей AES-256-CBC + SHA1 180.0 2016.0 188.2 770.9 190.3 97.4 256 туннелей AES-256-CBC + SHA256 180.0 2016.0 188.2 770.9 190.3 97.4 256 туннелей AES-128-GCM 192.7 2158.2 202.2 828.2 203.4 104.1
| Производитель-1 | |
| Производитель (c) | MikroTik |
Если вы решили купить MikroTik RB4011iGS+5HacQ2HnD-IN то вы можете сделать заказ в нашем интернет магазине по выгодной для вас цене. Так же вы можете ознакомиться с характеристиками, сделать расчет и скачать инструкцию на оборудование.
Если вы нашли этот же товар ДЕШЕВЛЕ или хотите купить его для перепродажи то вы можете написать нам или позвонить и мы всегда предложим вам самую выгодную цену.
Заказать MikroTik RB4011iGS+5HacQ2HnD-IN вы можете либо с доставкой по Москве или в любой город России (подходящей вам транспортной компанией или службой доставки). Так же вы можете оформить самовывоз из офиса компании Видеотехнология в г. Москва.
Представленная информация носит справочный характер и не является публичной офертой. Технические характеристики, комплект поставки или внешний вид изделия могут быть изменены производителем без предварительного уведомления.
Для постоянных клиентов и партнеров цена MikroTik RB4011iGS+5HacQ2HnD-IN корректируется в личном кабинете.
Описание MikroTik RB4011iGS+5HacQ2HnD-IN Беспроводной двухдиапазонный гигабитный маршрутизатор линейки RB4011 оснащён процессором Annapurna Alpine AL2
Уличная купольная PT HDCVI камера видеонаблюдения марки Dahua. с интеллектуальной двойной подсветкой Разрешение - 5Мп; CMOS; объектив 3.6мм; механический ИК-фильтр; чувствительность 0.05лк@F2.0(цвет); видеовыход: BNC ( Переключаемые стандарты видеосигнала - HDCVI/TVI/AHD/CVBS); 25к/с@5M; ИК-подсветка до 40м, Led-подсветка до 40м; встроенный микрофон; Класс защиты: IP66; питание: 12В(DC); PT-управление: DH-SD
Уличная купольная HDCVI камера видеонаблюдения марки Dahua. Starlight 2Mп; 1/2.8” CMOS; моторизированный объектив 2.7~12мм; механический ИК-фильтр; WDR(130дБ); чувствительность 0.002лк@F1.5; видеовыход: BNC ( Переключаемые стандарты видеосигнала - HDCVI/TVI/AHD/CVBS); частота кадров: 25к/с@1080p; ИК-подсветка до 60м; встроенный микрофон; Класс защиты: IP67; Корпус: металл









