MikroTik cAP ax
- Банковские карты
- Наличными при получении
- Банковский перевод для юр.лиц
- QR-код
Когда дело доходит до организации беспроводной сети в офисе, нельзя экономить на качестве и допустить приостановку работы своей команды.
Необходимо обеспечить отличное покрытие по всему помещению.
Вам нужно устройство, способное обслуживать большое число клиентов.
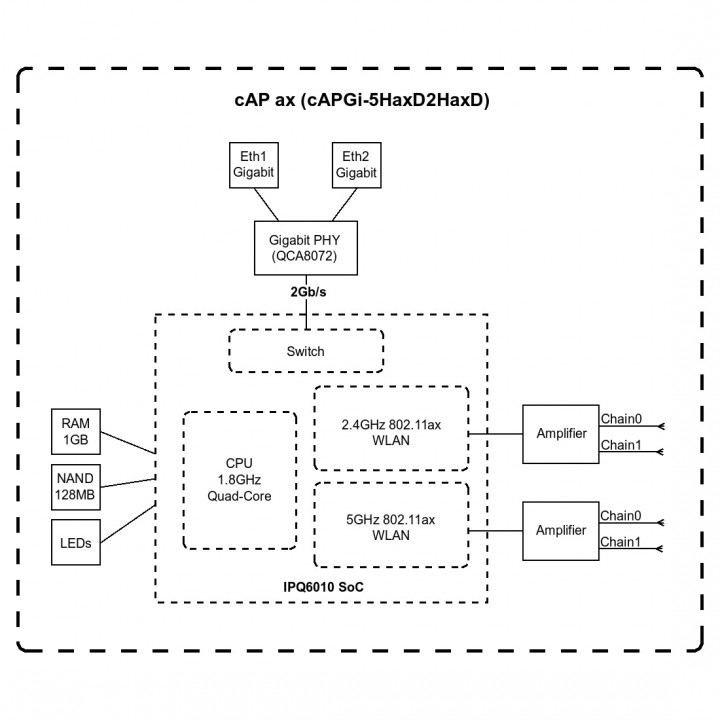
Требуется надёжное, гибкое и экономичное решение — cAP ax! Особенности Высокоскоростная и надёжная беспроводная связь 6-го поколения (802.11ax) Современный четырёхъядерный процессор (1,8 ГГц) Два гигабитных Ethernet-порта PoE-In и PoE-Out для запитывания других устройств (например, камер видеонаблюдения) 1 ГБ RAM Операционная система RouterOS версии 7 Несколько вариантов питания Незаметный корпус Блок питания в комплекте Простое управление сотнями устройств посредством системы CAPsMAN Характеристики MikroTik cAP ax Процессор IPQ-6010, 1,8 ГГц, 4 ядра, архитектура ARM (64 бит) ОЗУ 1 ГБ DDR3L ПЗУ 128 МБ NAND Порты Ethernet 2x 10/100/1000 Мбит/с Число гигабитных Ethernet-портов с PoE-Out 1 PoE-In 802.3af/at Питание на входе 18–57 В (DC Jack) 18–57 В (PoE-In) Число входов постоянного тока 2 (DC jack, PoE-In) PoE-Out Passive PoE до 57 В (Если < 30 В, следует задействовать DC Jack.
Если > 30 В, можно использовать PoE-In и DC Jack.) Порты с поддержкой PoE-Out Ether2 При входном питании 18–30 В: Passive PoE (напряжение совпадает с напряжением на входе Wi-Fi маршрутизатора) Максимальный ток на каждый порт: 600 мА При входном питании 30–57 В: Passive PoE (напряжение совпадает с напряжением на входе Wi-Fi маршрутизатора) Максимальный ток на каждый порт: 400 мА Максимальный ток на все порты: 600 мА Суммарный выходной ток: 0,4 А Общая выходная мощность: 19,2 Вт При токе свыше 300 мА используйте DC Jack для запитывания устройства.
Максимальное энергопотребление 28,2 Вт (9 Вт без подключённых устройств) Охлаждение Пассивное Размеры 228 х 48 мм Температура окружающей среды рабочая -40..
+70 °C (протестировано) Среднее время безотказной работы Около 200 000 часов при +25 °C Операционная система RouterOS версии 7, Level 4 Степень защиты корпуса IP20 Дополнительно Датчик температуры процессора Кнопка Режим Производитель MikroTik Страна бренда Латвия Гарантия 12 месяцев Параметры радиомодуля Wi-Fi Диапазоны беспроводной связи 2,4 ГГц 5 ГГц Стандарты 802.11b/g/n/aх 802.11a/n/ac/aх Максимальная скорость передачи данных 574 Мбит/с 1200 Мбит/с Цепи MIMO 2x2 Коэффициент усиления антенны 6 дБи 5,5 дБи Поколение связи Wi-Fi 6 Модель чипа QCN-5022 QCN-5052 Комплект поставки cAP ax 1 шт.
Адаптер питания 48 В, 0,95 А 1 шт.
Гигабитный PoE-инжектор 1 шт.
Планка для крепления на потолок 1 шт.
Крепёжная основа для монтажа на потолок 1 шт.
Набор для крепления (K-41) 1 шт.
| Производитель-1 | |
| Производитель (c) | MikroTik |
Если вы решили купить MikroTik cAP ax то вы можете сделать заказ в нашем интернет магазине по выгодной для вас цене. Так же вы можете ознакомиться с характеристиками, сделать расчет и скачать инструкцию на оборудование.
Если вы нашли этот же товар ДЕШЕВЛЕ или хотите купить его для перепродажи то вы можете написать нам или позвонить и мы всегда предложим вам самую выгодную цену.
Заказать MikroTik cAP ax вы можете либо с доставкой по Москве или в любой город России (подходящей вам транспортной компанией или службой доставки). Так же вы можете оформить самовывоз из офиса компании Видеотехнология в г. Москва.
Представленная информация носит справочный характер и не является публичной офертой. Технические характеристики, комплект поставки или внешний вид изделия могут быть изменены производителем без предварительного уведомления.
Для постоянных клиентов и партнеров цена MikroTik cAP ax корректируется в личном кабинете.
Описание MikroTik cAP ax Самый продаваемый Wi-Fi маршрутизатор вернулся — мощнее, чем раньше! Новое поколение беспроводного величия для офиса, гостини
Открытие замка по QR-коду Поддержка карт MIFARE® Запись на SD-карту Интеграция с ПО Link Двусторонняя аудиосвязь Встроенный ИК-подсветкой Влагозащита IP65
21.5"(16:9) FullHD монитор Тип матрицы: IPS. E-LED подсветка, 1920x1080, яркость 250 кд/м2, Контраст 1000:1, углы обзора 178°/178°, время отклика 5 мс, Цвет: 16.7Млн (8 бит), VESA: 75×75 мм. Интерфейсы: VGA×1, HDMI×1, Аудио вход×1, Динамики×2 (2Вт)
Потребляемый ток 1000mA, питание 12В (DC), режим работы: НЗ (с механической разблокировкой),переставляемый язычок (изм. вылета до 5мм), глубина захвата язычка до 6мм, сила удержания 400кг, материал: сталь с покрытием. Накладка в комплекте, размер защелки: 75х19х31мм, размер накладки: 250x25x3мм, вес: 270 гр, от -10 до +55 °С, рабочая влажность 10% - 90%.
NumberOK Lite является базовой версией программного обеспечения SW NumberOK. Она содержит детектор номерных знаков с функцией определения направления движения автомобиля. Система легко интегрируется с внешними приложенияи с последующей отправкой результатов распознавания.
Cabeus UTP-4P-Cat.5e-SOLID-GN-100 Кабель витая пара UTP (U/UTP), категория 5e, 4 пары (24 AWG), одножильный, PVC нг(А)-LS, зеленый (100 м)
Биометрический терминал для идентификации по отпечаткам пальцев. Дисплей цветной 2.4" TFT. Интерфейсы: TCP/IP, RS232\RS485, USB Хост. Память: отпечатка пальца 3000, событий 30 000.Опция считыватель RFID карт EM/MF.
Уличная купольная PTZ HDCVI-видеокамера Starlight 2Мп; 1/2.8” CMOS; моторизованный объектив 4.8~120мм (25x); механический ИК-фильтр; WDR(120дБ); чувствительность 0.005лк@F1.6(цвет), 0.0005лк@F1.6 (ч/б); видеовыход: BNC (переключаемый HDCVI/TVI/AHD/CVBS); 25к/с@1080p, 50к/с@720p; ИК-подсветка до 150м; тревожные вх/вых: 2/1; аудиовход; защита: IP66, грозозащита 6кВ; питание: 24В(DC); PTZ-управление: DH-SD, Pelco-P/D (RS-485)
4-канальное селекторное переговорное устройство с функциями диспечерской связи, громкого оповещения, режимом «Симплекс», радиусом действия до 1000 м, выходом для записи переговоров и управлением встроенного в панели клиентов реле (открытие замка). Абонентские панели Stelberry S-120 или пульты Stelberry D-120 приобретаются отдельно.
SW-8050/D PoE Коммутатор/удлинитель Gigabit Ethernet на 5 портов c питанием по PoE. Расстояние передачи данных + PoE - 100м. Порты: 4 х GE (10/100/1000 Base-T) с поддержкой PoE, GE (10/100/1000 Base-T) Uplink с поддержкой питания по PoE (Входная мощность до 90W). Соответствует стандартам PoE IEEE 802.3af/at. Автоматическое определение PoE устройств. Мощность PoE на порт - до 30W. Режим VLAN (Изоляция портов). Суммарная мощность PoE - до 85W. Встроенная грозозащита - 3kV. Питание: Через порт Uplink (до 90W) или через разъем DC. Адаптер питания в комплект не входит. Возможно крепление на стену. Размеры (ШхВхГ): 140x28x80мм. Рабочая температура: -10...+55 гр. С.













