MikroTik wAP ax
- Банковские карты
- Наличными при получении
- Банковский перевод для юр.лиц
- QR-код
Wi-Fi 6: больше, чем просто скорость Wi-Fi 6 показывает увеличение скорости до 90% (!) в диапазоне 2,4 ГГц, и до 40% — в 5 ГГц.
Но это ещё не всё.
Wi-Fi 6 обеспечивает значительно улучшенную энергоэффективность и безопасность.
Шифрование OWE / WPA3-PSK / WPA3-EAP и защита кадров управления помогают предотвратить все виды атак — например, атаки методом подбора и деаутентификации.
Если на большой территории установлено несколько wAP ax, вы сможете насладиться улучшенным бесшовным роумингом — устройства будут переключаться на самый сильный сигнал… плавно! Особенности Недорогая модернизация инсталляций на базе wAP ac до Wi-Fi 6 Повышение производительности при сохранении прежней цены Два гигабитных Ethernet-порта Высокопроизводительный двухдиапазонный радиомодуль Wi-Fi 6 (2,4+5 ГГц, MIMO 2x2) для надёжной скоростной радиосвязи в помещении и на улице Незаметная конструкция Классический влагостойкий корпус wAP Питание посредством PoE-In и DC Jack Операционная система RouterOS версии 7 Простое централизованное управление при помощи обновлённого инструмента — системы CAPsMAN Настенное, потолочное и настольное размещение, установка на мачту Усовершенствованное «железо» для бесперебойного подключения и простого управления Этот компактный Wi-Fi-маршрутизатор оснащён современным двухъядерным ARM-процессором и работает на операционной системе RouterOS версии 7, что гарантирует стабильный доступ в интернет и высокую производительность VPN на всех объектах.
wAP ax также поддерживает обновленный инструмент CAPsMAN для простого централизованного управления несколькими устройствами за несколько кликов.
Устройство оснащено двумя гигабитными Ethernet-портами.
Один из них с PoE-in для выбора вариантов питания.
Также можно использовать стандартный разъём постоянного тока.
Незаметная конструкция — защита от непогоды и вандализма wAP ax впишется в любую среду.
Его простой и элегантный дизайн не привлекает нежелательного внимания.
Это делает его идеальным и для оживлённых общественных мест, и для частных владений.
wAP надёжно крепится изнутри корпуса на любой внешней стене или крыше.
На задней стороне корпуса предусмотрено отверстие для прокладки кабеля Ethernet непосредственно через стену, сохраняя установку максимально незаметной и безопасной.
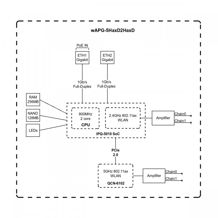
Технические характеристики Процессор IPQ-5010, 800 МГц, 2 ядра, архитектура ARM (64 бит) ОЗУ 256 МБ DDR3L RAM ПЗУ 128 МБ NAND Сетевой интерфейс 2х 10/100/1000 Мбит/с Ethernet Выходная мощность 20 дБм для РФ (25 дБм для других стран) Среднее время безотказной работы Около 100 000 часов при +25 °C Ширина диаграммы направленности антенны 360° Число входов постоянного тока 2 (PoE-In,DC Jack) Питание на входе 18–57 В (PoE-In) 12–57 В (DC Jack) PoE-In 802.3af/at Размеры 185 x 85 x 30 мм Температура окружающей среды рабочая -40..
+70° (протестировано) Операционная система RouterOS версии 7, уровень лицензии 4 Максимальное энергопотребление 9 Вт, 9 Вт (без подключённых устройств) Охлаждение Пассивное Сертификация CE, FCC, IC, EAC, ROHS Степень защиты корпуса IP54 Дополнительно Датчик температуры процессора, датчик температуры платы, датчик напряжения Параметры радиомодуля Wi-Fi Радиомодуль 2,4 ГГц стандартов 802.11b/g/n/ax; 5 ГГц стандартов 802.11a/n/ac/ax Максимальная скорость передачи данных 2,4 ГГц: 574 Мбит/с 5 ГГц: 2400 Мбит/с Цепи MIMO 2,4 ГГц: 2x2 5 ГГц: 2x2 Коэффициент усиления антенны 2,4 ГГц: 7 дБи 5 ГГц: 7 дБи Поколение связи 2,4 ГГц: Wi-Fi 6 5 ГГц: Wi-Fi 6 Модель беспроводного интерфейса 2,4 ГГц: IPQ-5010 5 ГГц: QCN-6102 Результаты замера производительности процессора wAPG-5HaxD2HaxD IPQ-5010 (800 МГц) тест через все порты 1G Режим Конфигурация 1518 байт 512 байт 64 байт Кпак/с Мбит/с Кпак/с Мбит/с Кпак/с Мбит/с Мост отсутствует (fast path) 158,8 1928,5 412,9 1691,2 481,2 246,4 Мост 25 правил фильтрации моста 158,4 1923,6 212,2 869,2 217,1 111,2 Маршрутизация отсутствует (fast path) 158,7 1927,3 258 1056,8 467,6 239,4 Маршрутизация 25 простых очередей 153,7 1866,5 168,3 689,4 169,2 86,6 Маршрутизация 25 правил фильтрации IP 117,3 1424,5 121 495,6 116,3 59,5 Комплект поставки Wi-Fi маршрутизатор 1 шт.
Блок питания 24 В, 0,8 А 1 шт.
Гигабитный PoE-инжектор 1 шт.
Набор винтов K-52 1 шт.
Металлический хомут для установки на мачту 2 шт.
Настольная подставка 1 шт.
Крепёжная пластина для уличного монтажа 1 шт.
Основа для крепления на потолок 1 шт.
| Производитель-1 | |
| Производитель (c) | MikroTik |
Если вы решили купить MikroTik wAP ax то вы можете сделать заказ в нашем интернет магазине по выгодной для вас цене. Так же вы можете ознакомиться с характеристиками, сделать расчет и скачать инструкцию на оборудование.
Если вы нашли этот же товар ДЕШЕВЛЕ или хотите купить его для перепродажи то вы можете написать нам или позвонить и мы всегда предложим вам самую выгодную цену.
Заказать MikroTik wAP ax вы можете либо с доставкой по Москве или в любой город России (подходящей вам транспортной компанией или службой доставки). Так же вы можете оформить самовывоз из офиса компании Видеотехнология в г. Москва.
Представленная информация носит справочный характер и не является публичной офертой. Технические характеристики, комплект поставки или внешний вид изделия могут быть изменены производителем без предварительного уведомления.
Для постоянных клиентов и партнеров цена MikroTik wAP ax корректируется в личном кабинете.
Описание MikroTik wAP ax wAP ax: быстрый и надёжный Wi-Fi 6 для неблагоприятных условий окружающей среды Используйте Wi-Fi-маршрутизатор с Wi-Fi 6 во







